Показаны различные схемы диагностических разъемов для авто MERCEDES, в том числе универсальный для многих автомобилей 16-ти контактный разъем OBD-II. Различные типы разъёмов для диагностики ставились в модели разных годов выпуска, поэтому проще всего ориентироваться по форме гнезда - они все разные.
Диагностический разъем OBD-II-Mercedes

Для моделей после 1999-2000 г. Находится в салоне под торпедой со стороны водителя.
1 K-линия диагностики c управления зажиганием (EZS), системы кондиционирования (KLA), парк-троника (PTS), системы пассивной безопасности - подушек безопасности и преднатяжителей ремней (SRS, AB), управление стартером (на W168) и пр. (системы комфорта)
2 none
3 Вывод TNA, TD - обороты двигателя
4 Заземление кузова - Масса
5 Сигнальное заземление - Масса
6 Шина диагностики CAN-High (в частности, диагностика системы AirBag на W203, W209, W220, W240, R230, С215 c 2004 г.)
7 K-линия диагностики системы управления двигателем (ME/MSM/CDI)
8 Питание, контур зажигание 15
9 K-линия диагностики антиблокировочной системы (ABS), антипробуксовочной системы (ASR), системы стабилизации (ESP), системы трэкшн-контроль (ETS), системы помощи при торможении (BAS)
10 none
11 K-линия диагностики коробки передач и др. узлов трансмиссии (EGS, ETC, FTC)
12 K-линия диагностики комплексного модуля управления (AAM - All activity module, радио (RD), системы информирования водителя и связи (ICS) и пр.
13 K-линия диагностики AB - Система пассивной безопасности (подушки безопасности, преднатяжители ремней)
14 Шина диагностики CAN-Low (в частности, диагностика системы AirBag на W203, W209, W220, W240, R230, С215 c 2004 г.)
15 K-линия диагностики приборной панели (IC, KI), кондиционера (TAU), системы управления наклоном фар (LWR)
16 Питание +12В от АКБ , контур 30
38-ми контактный круглый диагностический разъем Мерседес

Установлен на часть моделей 1994-2002 гг. Например W124, W129, W140, W202, W210, W220
1 Масса, контур 31
2 Питание, контур 87 или 15
3 Питание, контур 30
4 K-линия диагностики системы управления двигателем (HFM-SFI, DFI, IFI; LH-SFI, ME-SFI - правая часть)
5 K-линия диагностики системы управления двигателем (LH-SFI, ME-SFI - левая часть)
6 K-линия диагностики антиблокировочной системы (ABS), антипробуксовочной системы (ASR), системы стабилизации (ESP), системы трэкшн-контроль (ETS)
7 K-линия диагностики системы управления холостым ходом (ISC), электронной педали газа - электронного управления дроссельной заслонкой (EFP, EA), системы круиз-контроля (CC, Tempostat, Tempomat
8 K-линия диагностики системы помощьи при торможении (BAS) и основного модуля (BM)
9 K-линия диагностики системы управления автоматической блокировкой дифференциала (ASD)
10 K-линия диагностики системы управления трансмиссией (EATC, ETC)
11 K-линия диагностики системы управления активной подвеской (ADS)
12 K-линия диагностики системы усилителя рулевого управления (SPS, PML)
13 Сигнал оборотов двигателя (TD, TNA, TN)
14 Лямбда вкл/выкл на LH-SFI (правый)
15 Лямбда вкл/выкл на LH-SFI (Левый)
16 K-линия диагностики кондиционера и отопителя (HEAT, Tempmatic, Automatic)
17 K-линия диагностики системы управления зажиганием (DI)(правая часть)
18 K-линия диагностики системы управления зажиганием (DI)(левая часть)
19 Диагностический модуль (DM)
20 K-линия диагностики системы управления пневмоподвеской (PSE), многофункционального блока управления (на W210), управления люком (DBE), электрикой и пр.
21 K-линия диагностики модуля комфорта (CF) и блока управления крышей (RST - для кабриолетов - например, W129)
22 K-линия диагностики блока управления дугами безопасности (RB - на W129)
23 K-линия диагностики противоугонной системы (ATA)
24 K-линия диагностики системы TELE-AID
25 K-линия диагностики системы контроля давления в шинах (RDK)
26 K-линия диагностики системы управления автоматической блокировкой дифференциала (ASD - на W202)
27 none
28 K-линия диагностики системы парктроник (PTS)
29 none
30 K-линия диагностики системы пассивной безопасности - подушки безопасности, преднатяжители ремней (SRS,AB)
31 Вывод для сброса сервисных интервалов (?)
32 none
33 K-линия диагностики радио (RD) и навигационной системы
34 K-линия диагностики системы связи, информации и навигации (ICS, CNS)
35 K-линия диагностики системы управления наклоном фар (LWR)
36 K-линия диагностики системы управления основным и дополнительным обогревателем (STH) и HB (Heater booster
37 none
38 none
Полукруглый разъем для диагностики авто

На модель Vito и V-класс. Расположен под водительским сиденьем MERCEDES
1 Масса, контур 31
2 Питание, контур 15
3 Питание, контур 30
4 K-линия диагностики двигателя, системы связи, электронной блокировки дифференциала, управления холостым ходом
5 K-линия диагностики подвески
6 K-линия диагностики подушек безопасности AirBag
7 K-линия диагностики противоугонной системы (EDW)
8 K-линия диагностики иммобилайзера (WSP)
9 K-линия диагностики автоматической коробки передач (AGN - для коммерческих автомобилей)
10 none
11 K-линия диагностики системы обогрева
12 K-линия диагностики системы управления центральным замком (ZV), HZR, ADR
13 Вывод тахометра
14 K-линия диагностики ABS; ABS/ABD
15 ASF - диагностика клапана отсечки топлива противоугонной системы
16 none
Схема 14-ти контактного круглого разъема

Для моделей Mercedes Sprinter и грузовики (Actros, Atego)
1 Масса, контур 31
2 Питание, контур 15
3 Питание, контур 30
4 K-линия диагностики иммобилайзера на printer (EWS) и K-линия диагностики двигателя и общего компьютера на грузовиках MB Actros, Atego
5 Вывод тахометра (RPM Signal) - обороты двигателя
6 K-линия диагностики системы автопилот (APS)
7 K-линия диагностики противоугонной системы (EDW)
8 K-линия диагностики подушек безопасности (AirBag - AB)
9 K-линия диагностики АКПП
10 K-линия диагностики системы управления центральным замком (ZV), HZR, ADR
11 K-линия диагностики системы обогрева
12 K-линия диагностики ABS/ABD/EDL
13 none
14 K-линия диагностики двигателя на MB Sprinter и VW LT (EVE/CDI/PMS)
Цоколёвка на 16-ти контактный прямоугольный разъем

На некоторых моделях Мерседес 1993-1998 гг. В частности MB C-класс (W202), E-класс (W124)
1 Масса, контур 31
2 Кнопка самодиагностики (если есть)
3 K-линия диагностики системы управления бензиновым двигателем (CFI, KE), блока диагностики (DM)
4 K-линия диагностики системы управления дизельным двигателем (EDS, ARA) или cвето-диод само-диагностики LED (если установлен)
5 K-линия диагностики системы управления автоматической блокировкой дифференциала (ASD, 4MATIC)
6 K-линия диагностики cистемы пассивной безопасности - подушки безопасности, преднатяжители ремней (SRS, AB). Вывод для сброса сервисного интервала (?)
7 K-линия диагностики системы управления кондиционером и отопителем (Tempmatic, Automatic), системы управления дугами безопасности (RB - на R129)
8 K-линия диагностики системы управления бензиновым двигателем (HFM-SFI, DI)
9 K-линия диагностики системы управления активной подвеской (ADS), дугами безопасности (RB - на W124)
10 TN - Датчик скорости на бензиновом двигателе
11 K-линия диагностики системы управления складной крышей (RST на R129, CST на W124)
12 K-линия диагностики противоугонной системы (ATA)
13 K-линия диагностики системы управления центральным замком (IRCL)
14 K-линия диагностики системы управления автоматической трансмиссией (EGS, EATC)
15 K-линия диагностики системы управления двигателем (ESCM, MAS), холостым ходом (ISC), электронной педалью газа (EA, EFP),круиз-контроля (CC)
16 Питание +12В, контур 15
8-ми контактный прямоугольный разъем для диагностики

Установлен под капотом на части моделей 1988-1993 гг.
1 Масса, контур 31
2 Кнопка самодиагностики (если есть)
3 K-линия диагностики системы управления бензиновым двигателем (CFI, KE), блока диагностики (DM)
4 K-линия диагностики системы управления дизельным двигателем (EDS, ARA) или cвето-диод само-диагностики LED (если установлен)
5 K-линия диагностики системы управления автоматической блокировкой дифференциала (ASD, 4MATIC)
6 K-линия диагностики cистемы пассивной безопасности - подушки безопасности, преднатяжители ремней (SRS, AB). Вывод для сброса сервисного интервала (?)
7 K-линия диагностики системы управления кондиционером и отопителем (Tempmatic, Automatic), системы управления дугами безопасности (RB - на R129)
8 K-линия диагностики системы управления двигателем, системы управления зажиганием
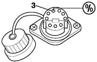
Диагностический разъем 9-ти контактный круглый

Часть моделей 1985-1993 гг. Например MB 190 (W201), S-класс (W126), G-класс (W461, W463)
3 - Вывод для считывания кода неисправности через определение скважности сигнала.
Это должен знать каждый владелец авто:
Диагностический разъем MITSUBISHI
Здесь показаны три схемы диагностических разъемов для автомобилей MITSUBISHI, в том числе стандартный 16 контактный разъем для диагностики OBD-II. В конце страницы изображено типичное...
|
Ниппели светящиеся для колёс
Недавно на рынке появились интересные девайсы для дизайна - светящиеся светодиодные ниппеля. Если вы задумываетесь о модернизации автомобиля, т...
|
|