В данной статье приводится полная электрическая схема джипа Mitsubishi Pajero. Вы можете посмотреть её бесплатно и без регистрации. Приведены все основные узлы автомобиля Mitsubishi Pajero - блок заряда аккумулятора, карбюратора, блок круиз-контроля, фары основные и вспомогательные и т.д. Для удобства просмотра показаны уменьшенные копии фрагментов электросхем, чтоб увеличить во весь экран - кликните по ним. Обратите внимание, что это первая часть сборника принципиальных схем электрооборудования Митсубиси Паджеро. Продолжение смотрите тут.
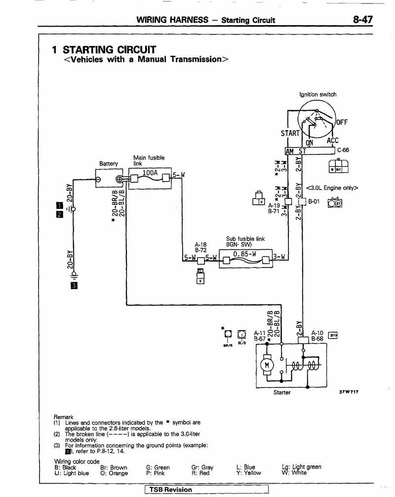
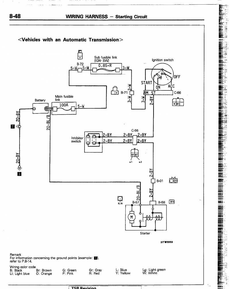
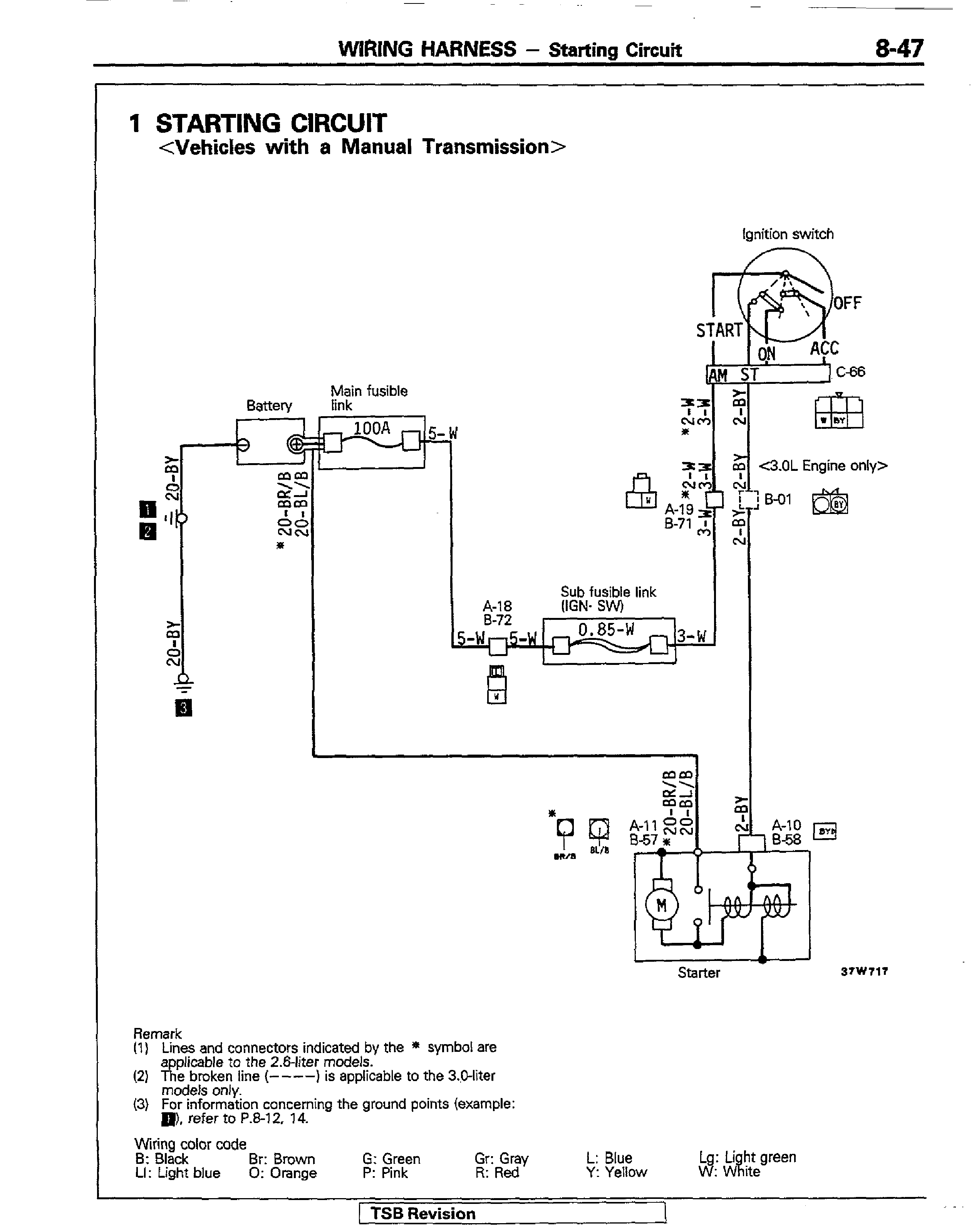
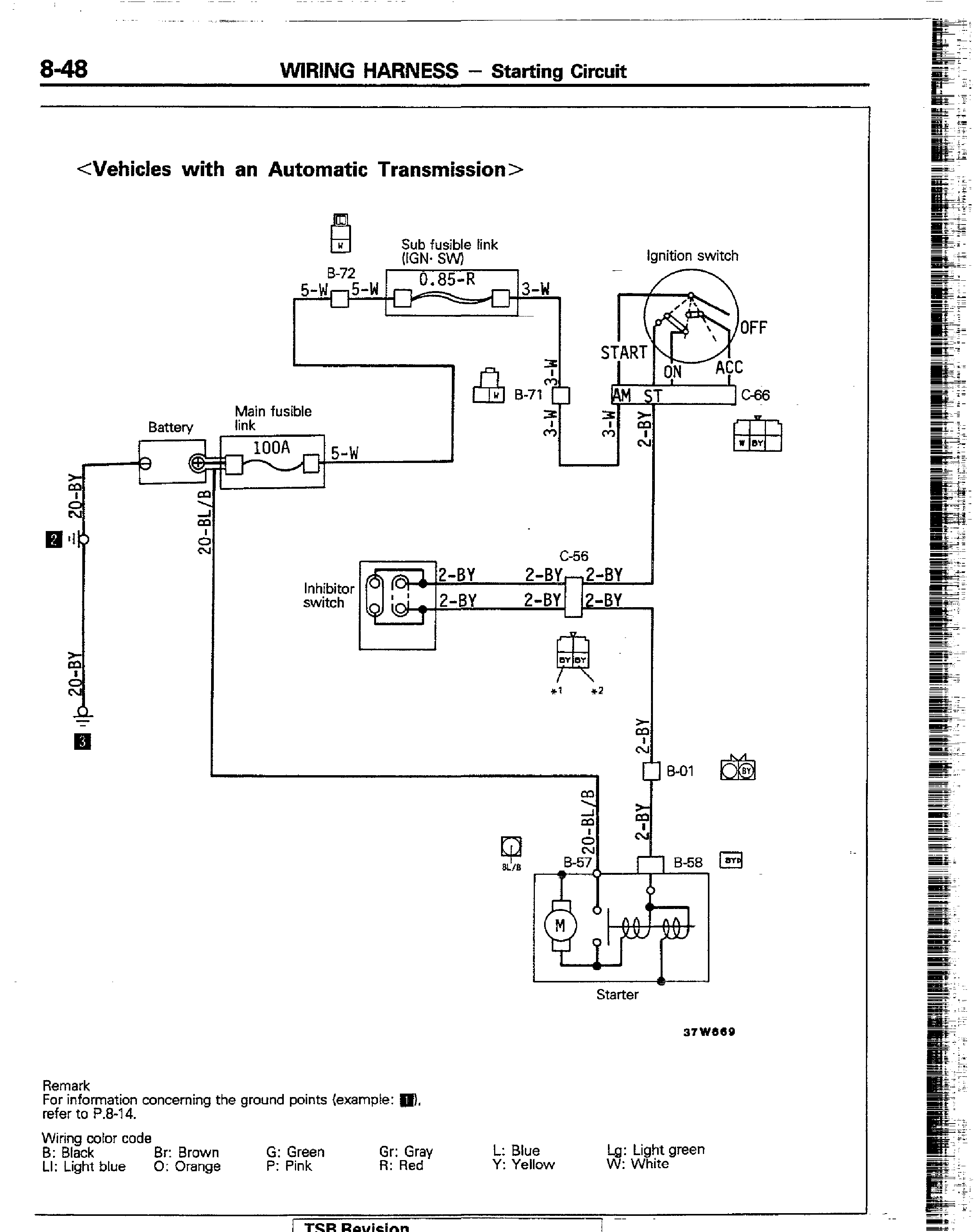
Схема включения стартера Mitsubishi Pajero


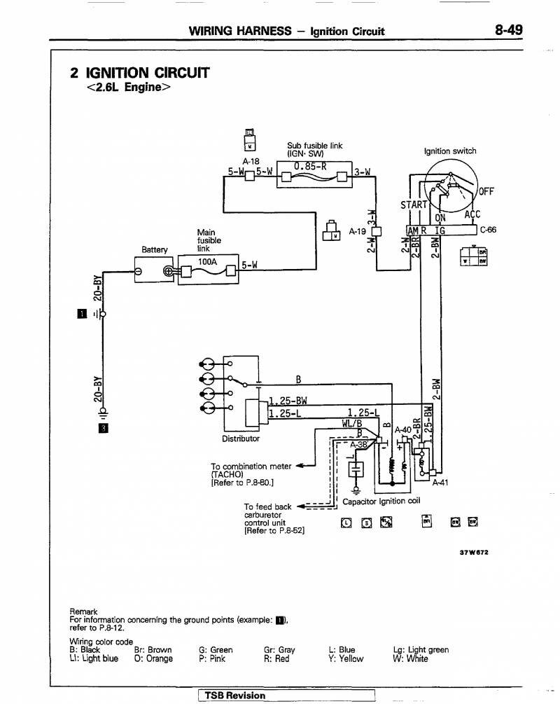
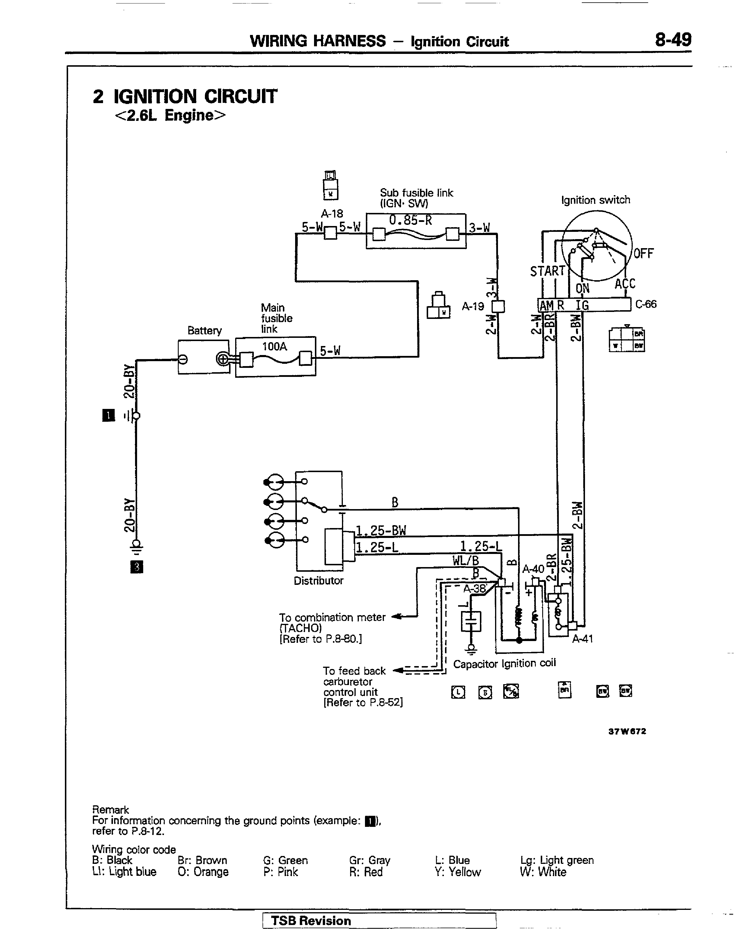
Цепи зажигания - высокого напряжения

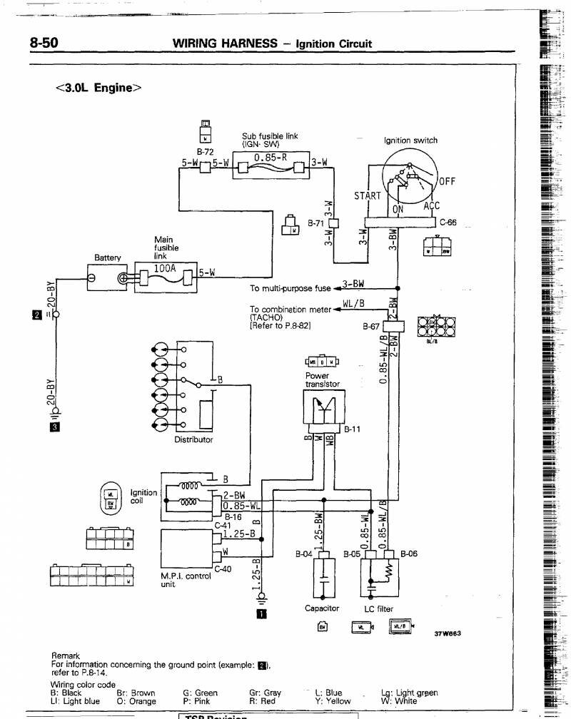
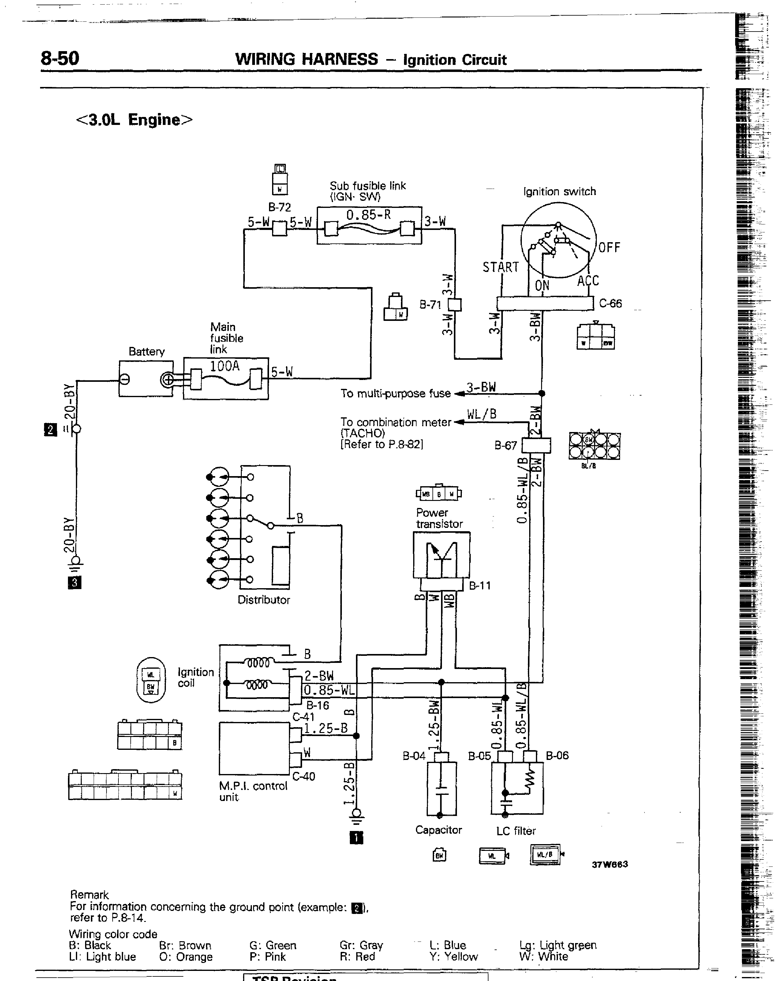
Цепи зажигания для двигателя 3.0

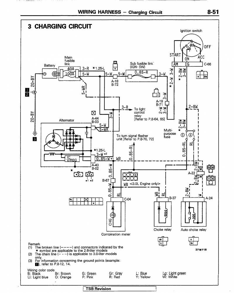
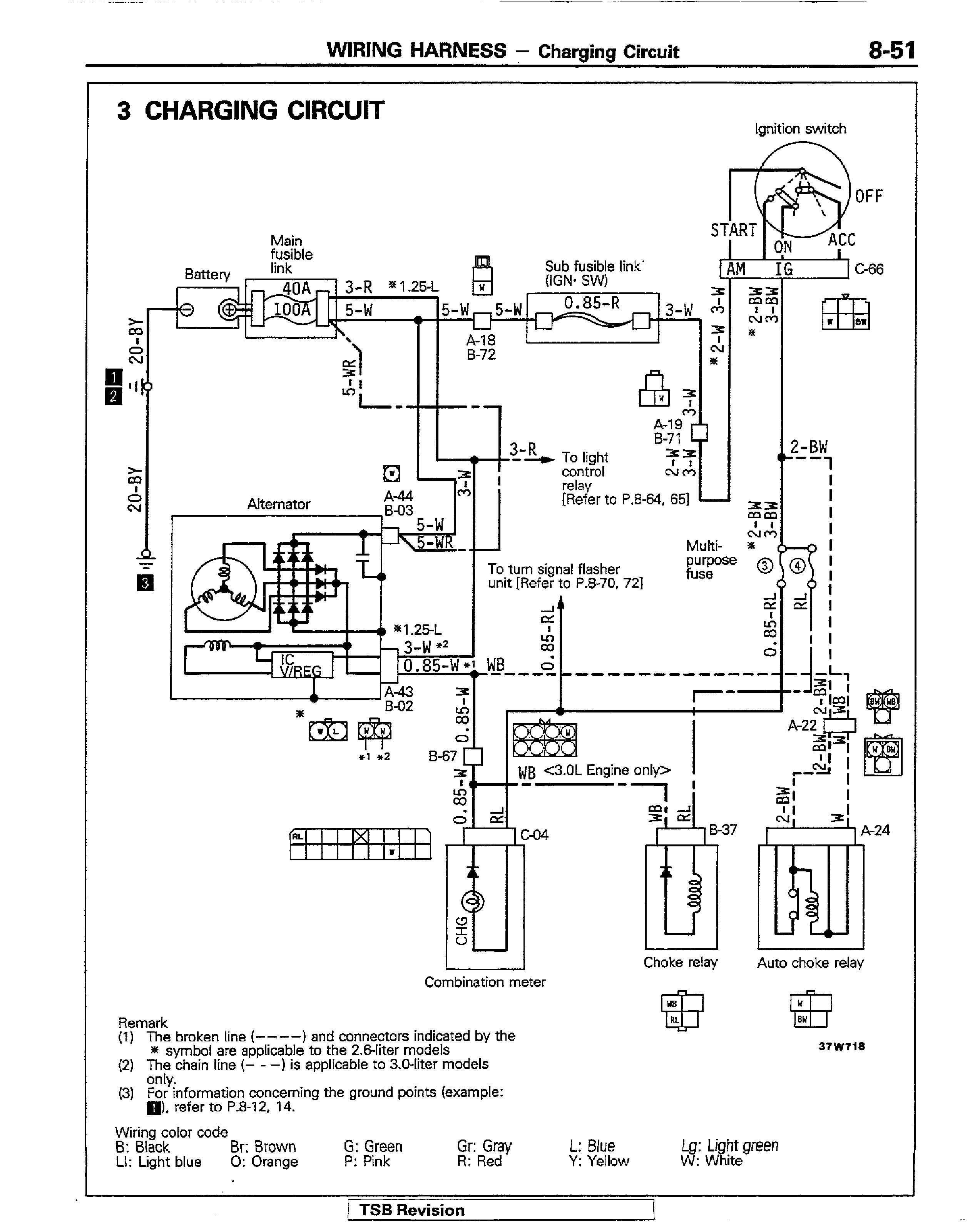
Блок заряда АКБ 12В Mitsubishi

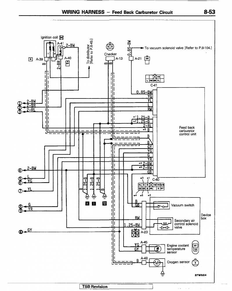
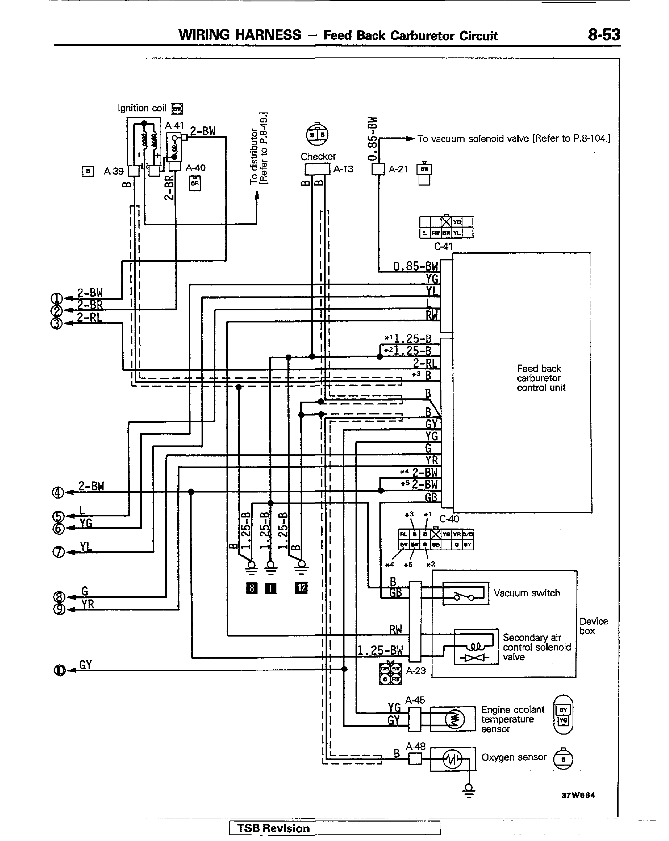
Принципиальная схема карбюраторного блока

Принципиальная схема карбюраторного блока - продолжение

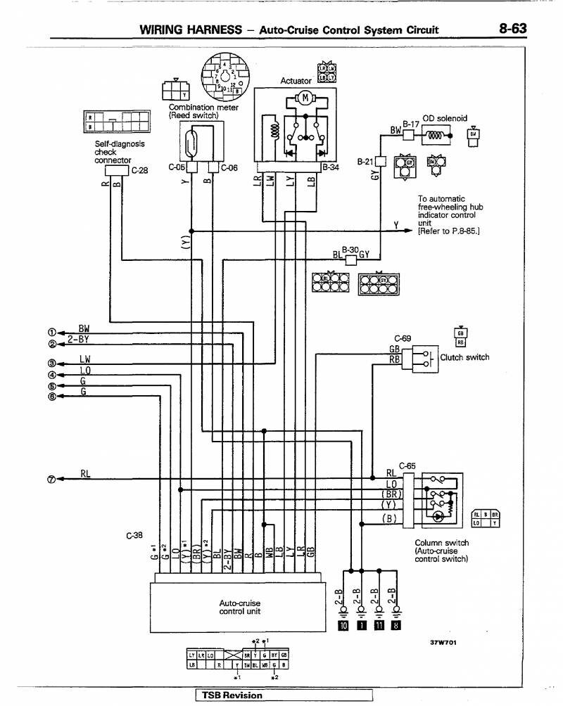
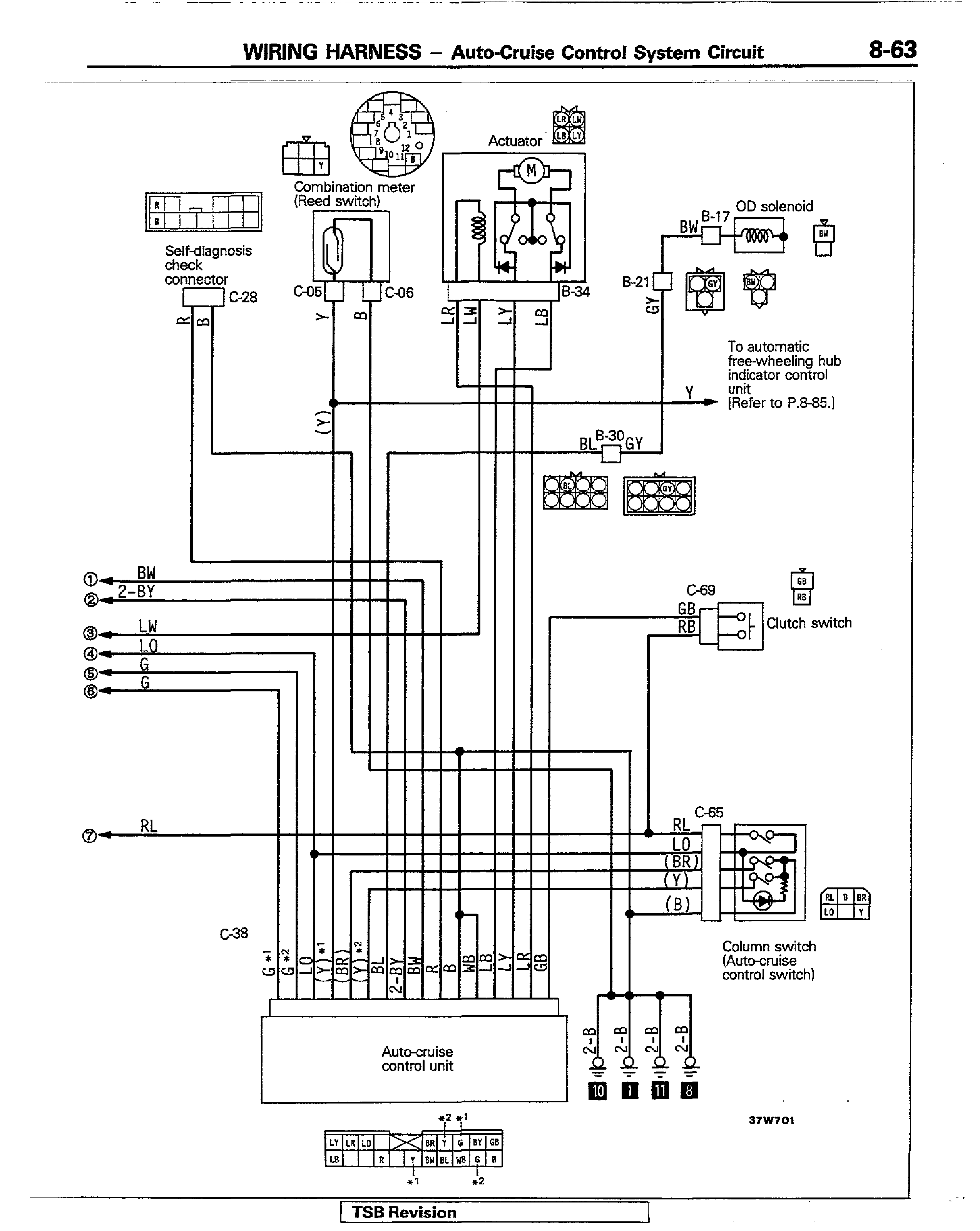
Схема авто круиз контроля Митсубиси Паджеро


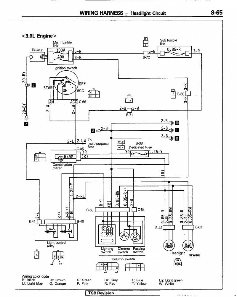
Электросхема головных фар авто

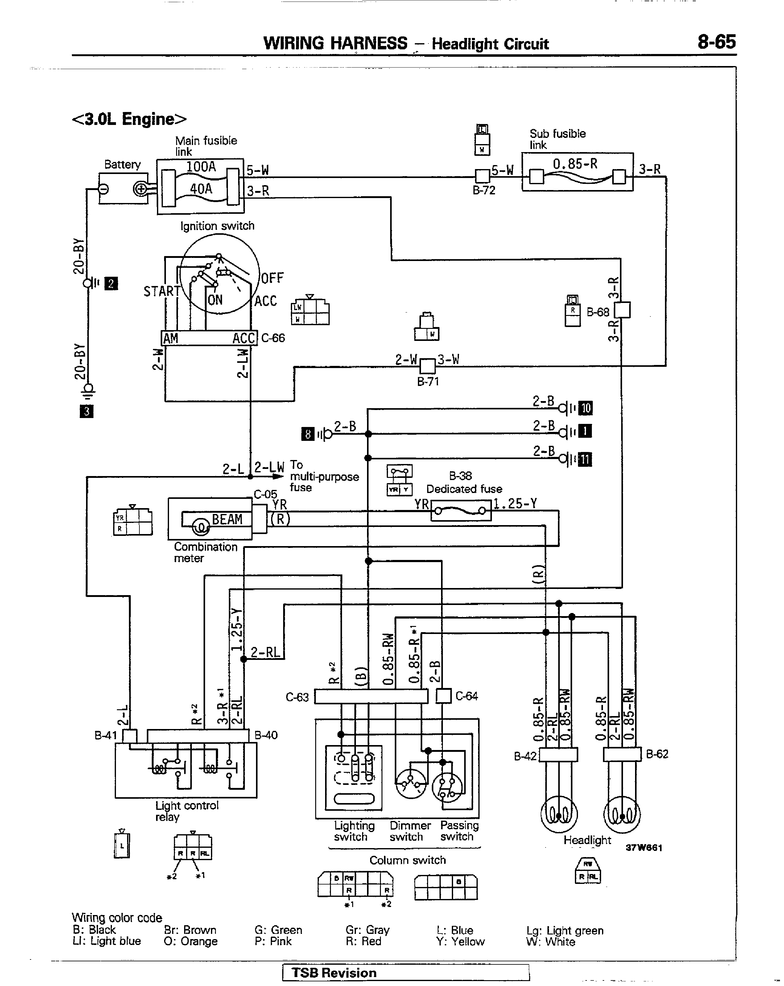
Электросхема головных фар авто с двигателем 3.0

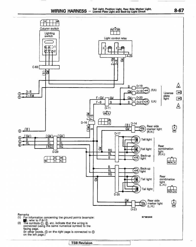
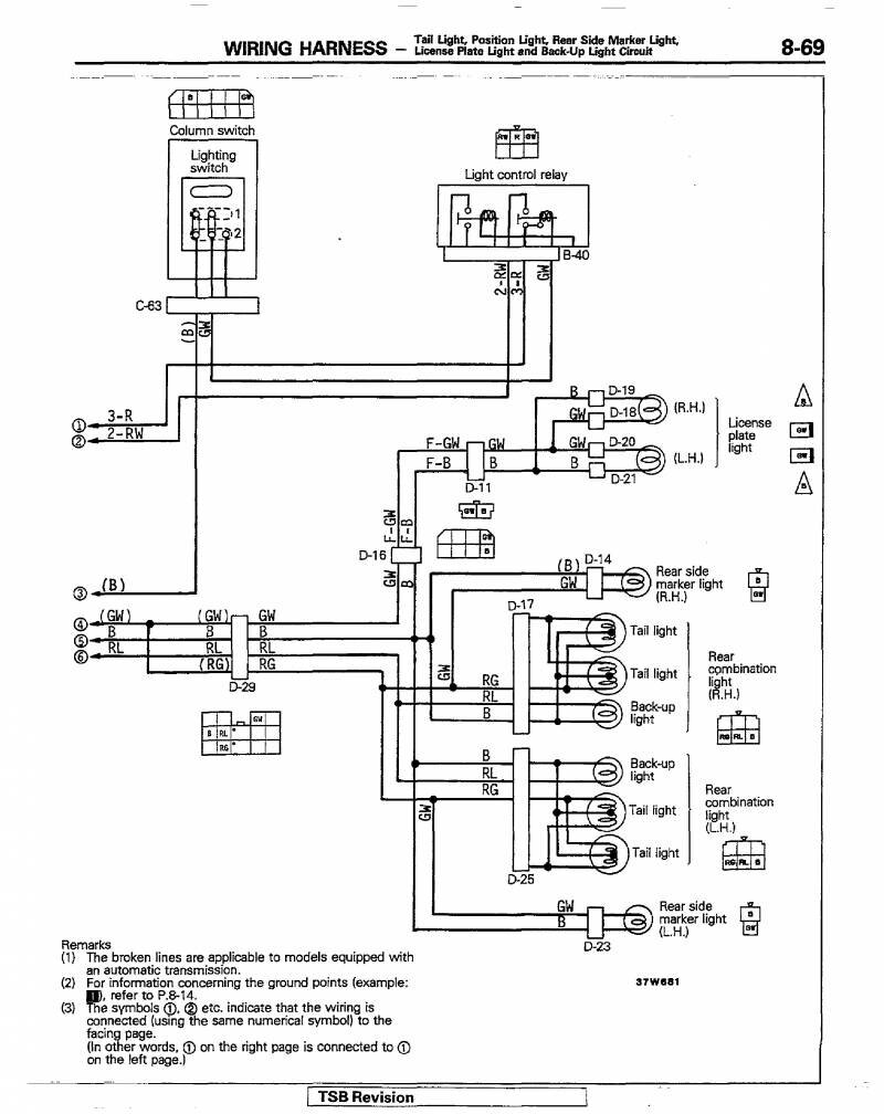
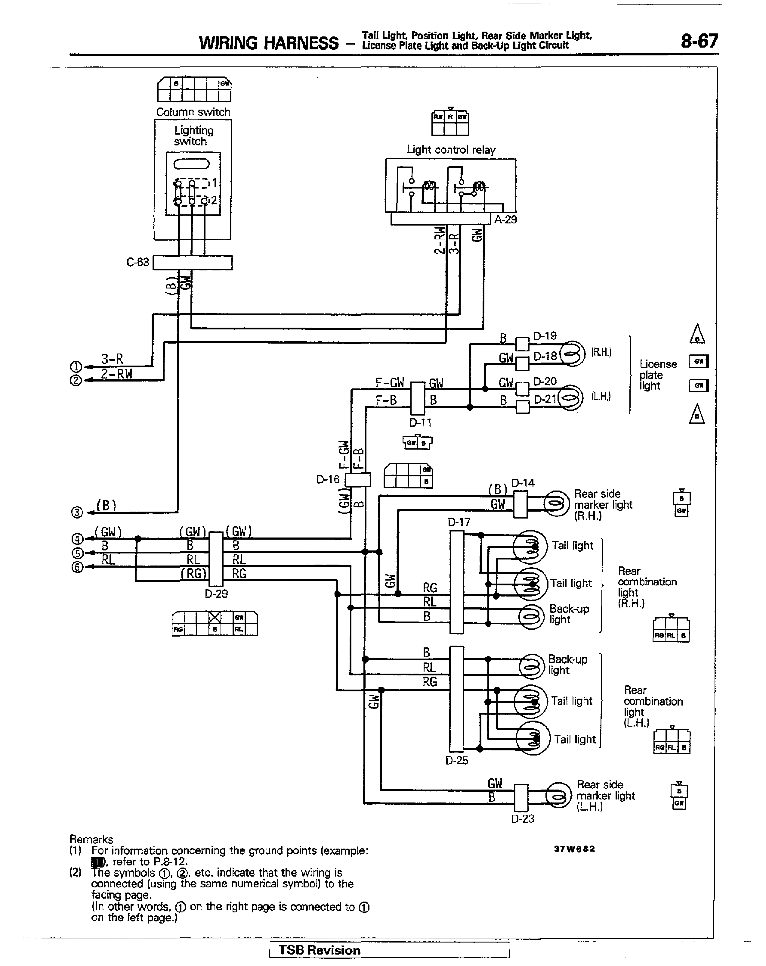
Подключение фар и подсветок, в том числе габаритов Митсубиши Паджеро


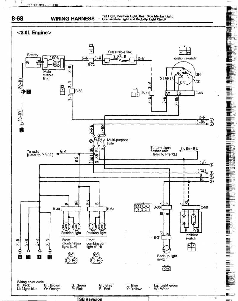
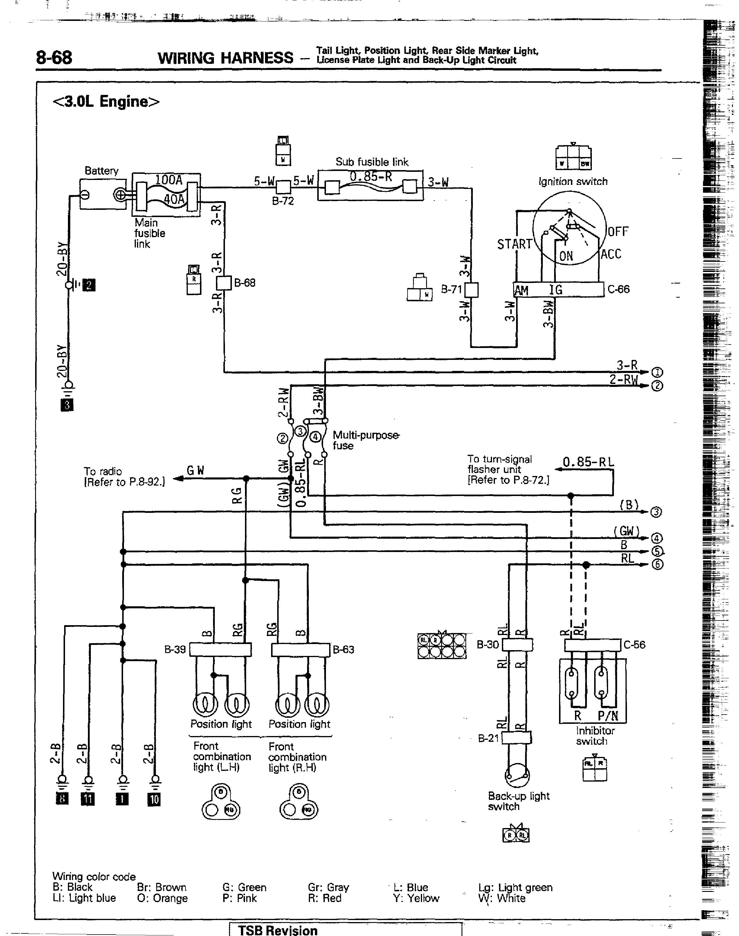
То-же для авто с двигателем 3.0 куба


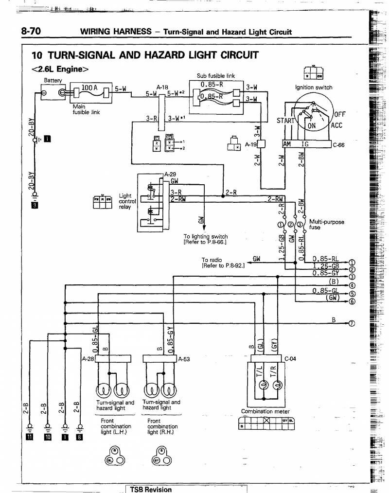
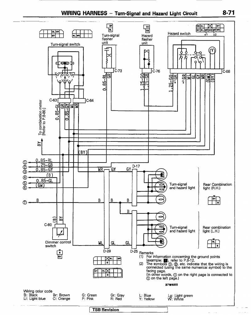
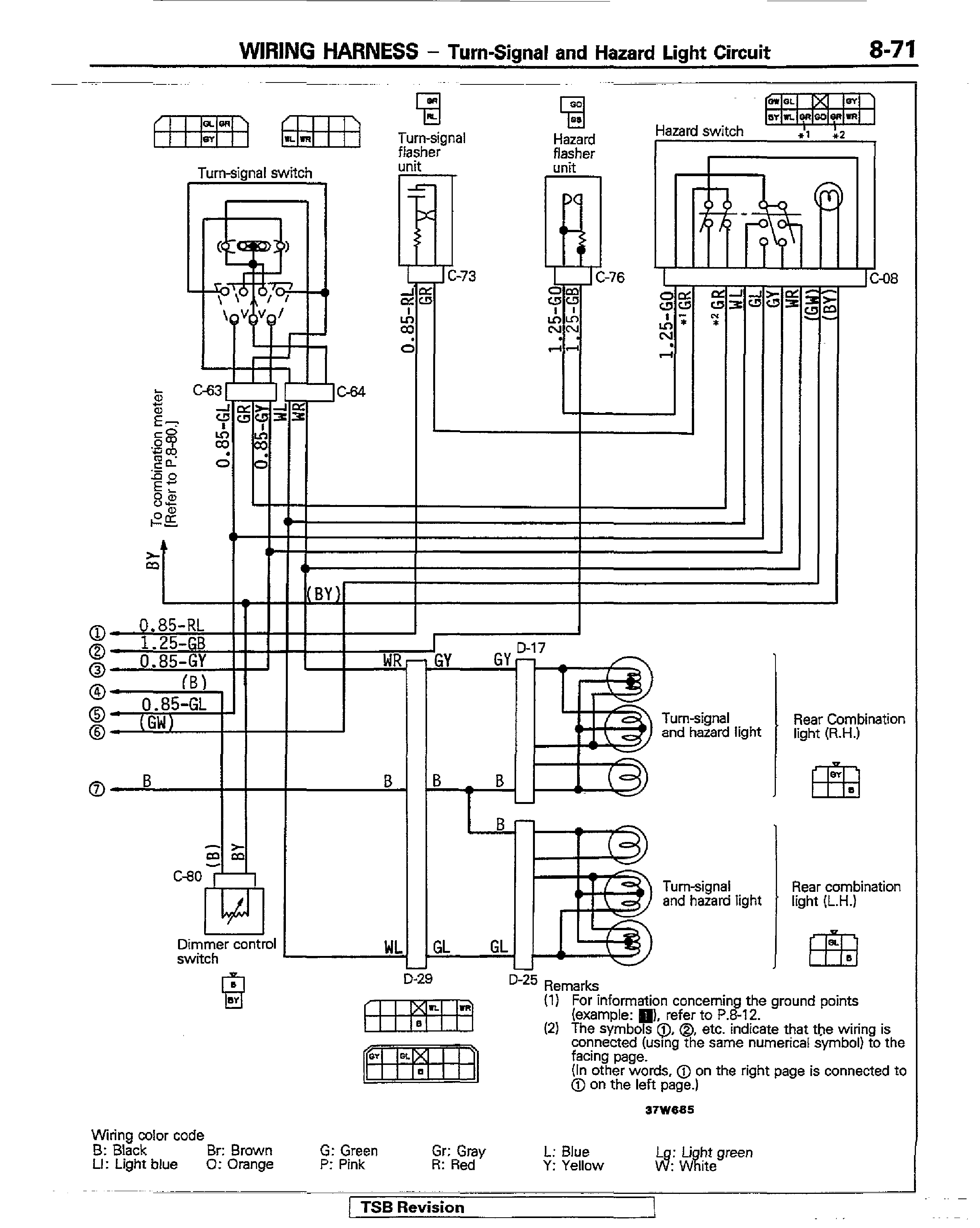
Схема поворотников и ламп аварийных огней Mitsubishi Pajero


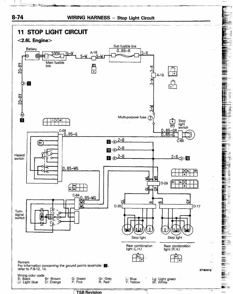
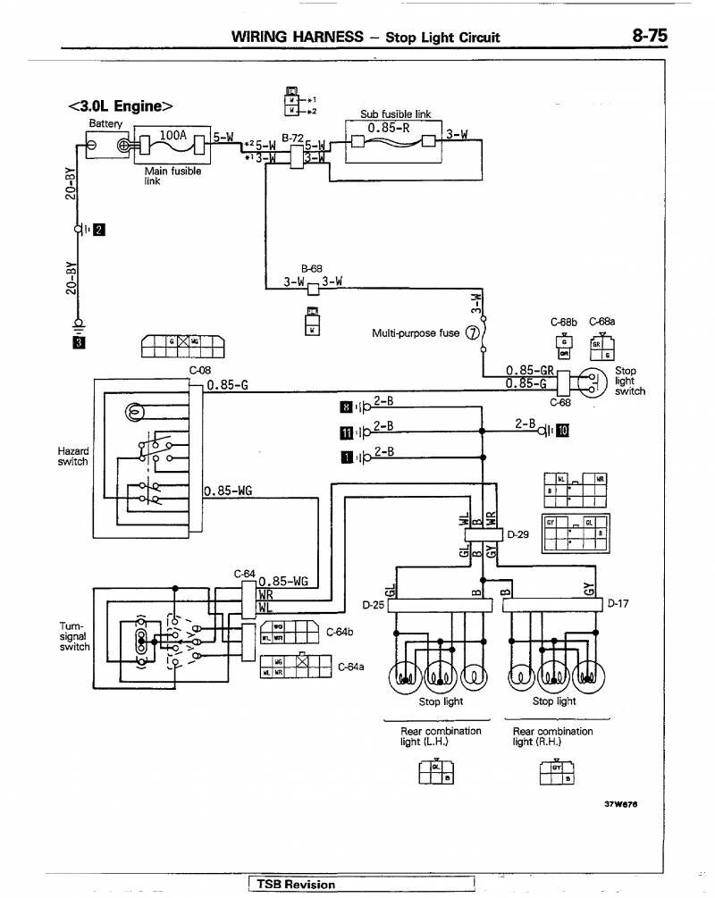
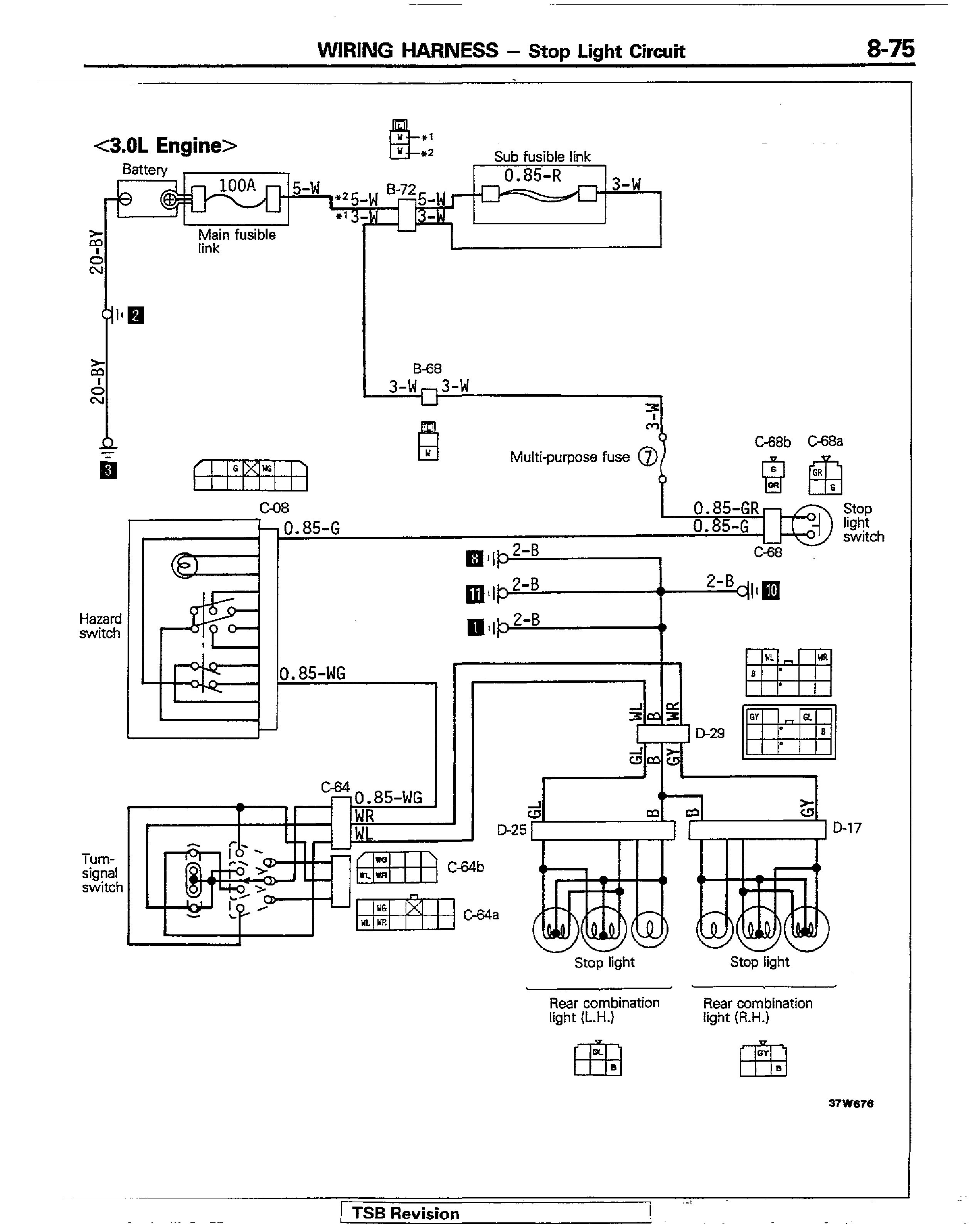
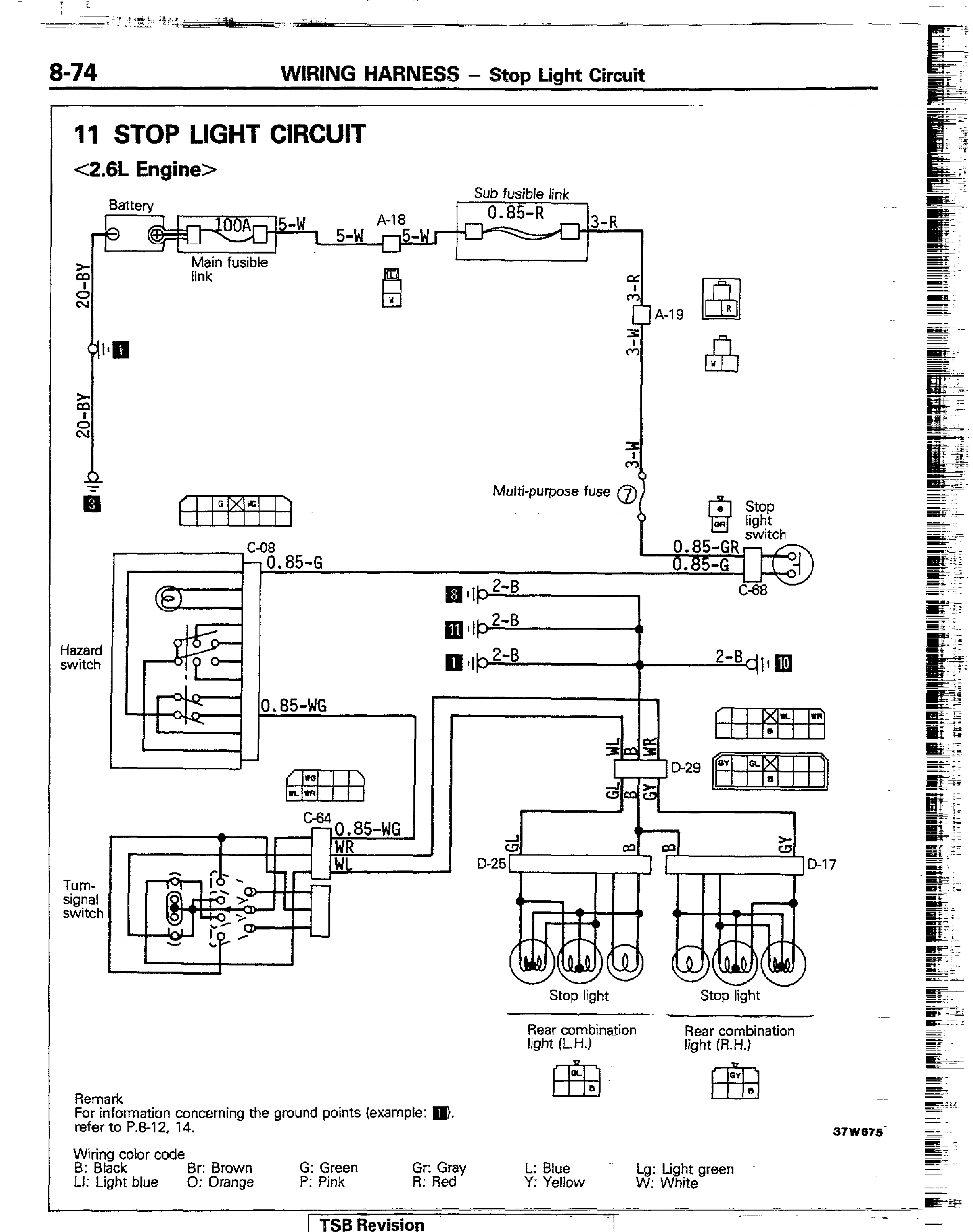
Эл.схема стоп-сигналов джипа


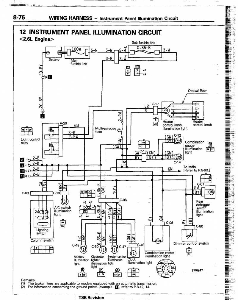
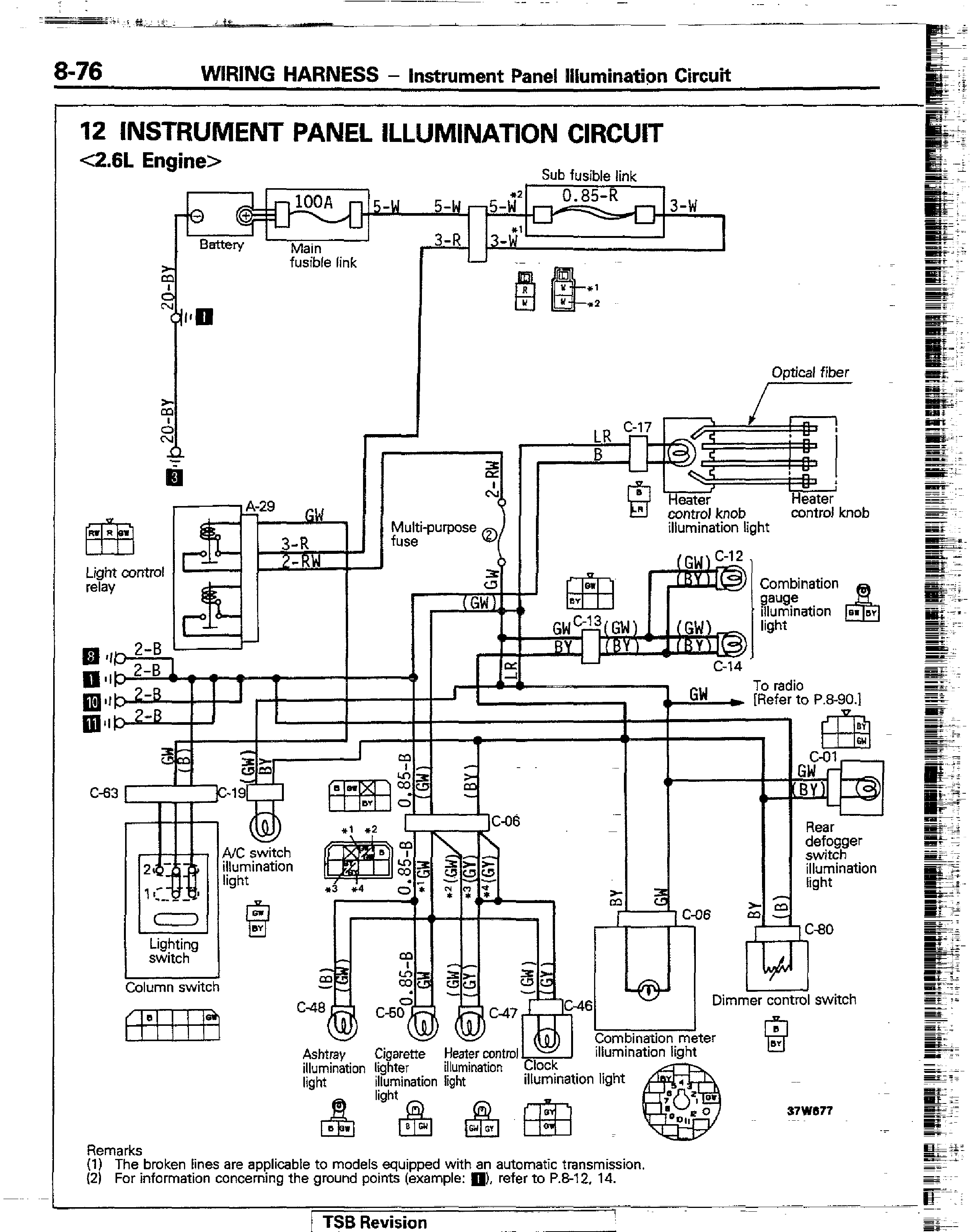
Подсветка приборной панели автомобиля 2.6

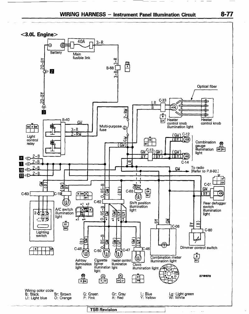
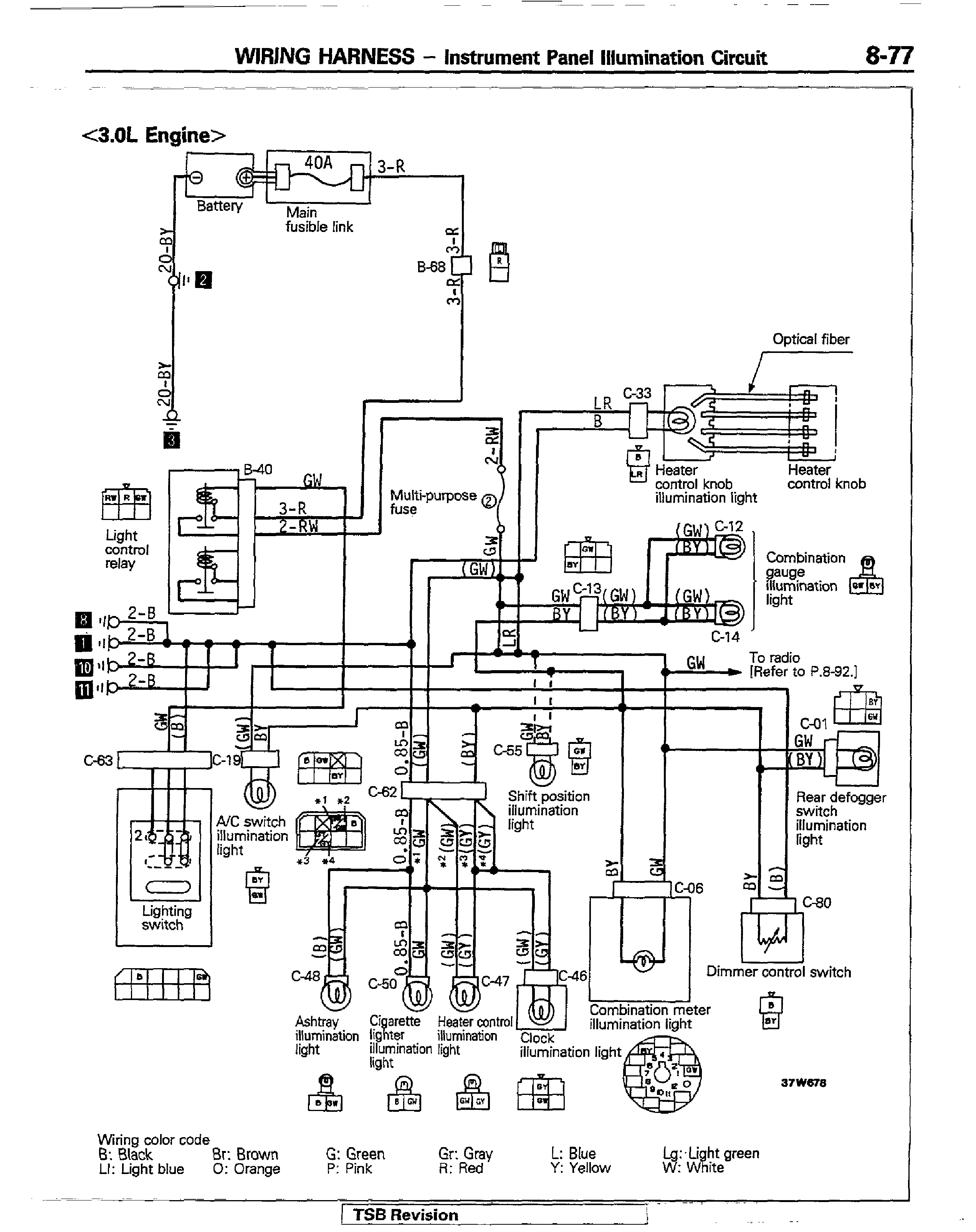
Подсветка приборной панели автомобиля 3.0

РЕМОНТ АВТОЭЛЕКТРОНИКИ ЗАРЯДНЫЕ УСТРОЙСТВА ДЛЯ АКБ

|